Tandemové vahadlo lanovodů KNOTT
Kód: 60433Související produkty
Detailní popis produktu
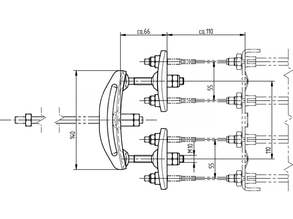
Tandemové vahadlo slouží k propojení čtyř lanovodů dvounápravového přívěsu s centrálním brzdovým táhlem. Speciálně tvarované prolisy spolu s kulovými maticemi zajišťují maximální volnost při vychylování vahadel během provozu. Rozteč otvorů tandemového vahadla KNOTT je standardizovaná pro nápravy KNOTT až do velikosti nápravy typu GB18, resp. VGB18 (přívěsy s celkovou hmotností 3500 kg a dvěma nápravami).
Upozornění: Tandemové vahadlo KNOTT nelze použít pro nápravy AL-KO (jiná rozteč otvorů pro uchycení lanovodů).
Tandemové vahadlo je dodáváno včetně spojovacího materiálu - kulových matic a kontramatic pro všechny 4 lanovody a pro centrální táhlo. Každá kulová matice je zajištěna jednou standardní maticí. Po namontování tandemového vahadla a jeho seřízení je nutné pečlivě dotáhnout všechny kontramatice proti kulovým matkám.


Doplňkové parametry
| Kategorie: | Vahadla, táhla a příslušenství lanovodů pro přívěsy |
|---|---|
| EAN: | 60433008 |
Buďte první, kdo napíše příspěvek k této položce.
Buďte první, kdo napíše příspěvek k této položce.